Skip to content

Free UK Delivery Over £75*

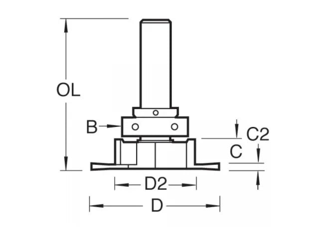
Trend 334 x 1/2 TCT Aquamac Recessor

Trend 334 x 1/2 TCT Aquamac Recessor

Regular price £125.27 £104.39
Sale price £125.27 £104.39 Regular price £0.00